Material: ASTM A216 WCB, ASTM A351 CF8,ASTM A351 CF8M, ASTM A351 CF3,ASTM A351 CF3M, ASTM A352 LCB, ASTM A217 WC6 and ASTM A217 WC9
Bolted Bonnet, OS&Y, Rising stem
Size: 1/2' -48'
Pressure: 150LB, 300LB, 600LB, 900LB, 1500LB
Design and manufacture: ANSI B16.34, API 600, API6D
Face to face dimension: ANSI B16.10
Flange end: ANSI B16.5
Butt welded: ANSI B16.25
Test and inspection: API 598
Application: water, oil, natural gas
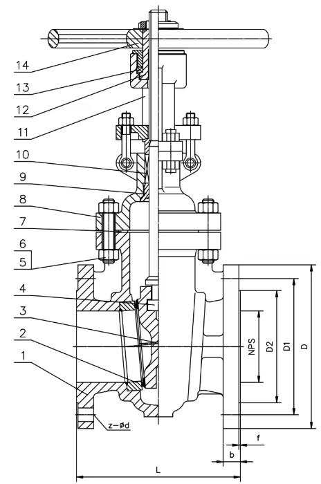
Details:
1. Seal: stainless steel / fluorine plastic
2. Body: grey iron
3. Disc: grey iron
4. Stem: carbon steel
5. Type:Russian gate Valve
6. Pressure: 1MPa
7. Connection type: flange end
8. Control method: gear driven
9. Advantages: good appearance, long service life and flexible switch
10. Conveyance: By steam ship
Packing&Shipping:
1. Single Casting steel gost russian gate valve is packed with woven bag.
2. Put sponge in each floor, 1.1*1.1*0.78m export plywood case.
3. We can pack according to specific customer requests.
4. Customers' logos are available on package of the Casting steel gost russian gate valve.
Our advantages:
1. Best Raw material
2. Good service
3. Competitive price
4. Fast delivery


If you want to know more details, please send an email to us to solidvalves@aliyun.com.

|